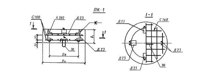
ПК 1

Чертеж изделия:
Характеристики изделия:
ПараметрЗначение
длина650 мм
ширина650 мм
высота200 мм
масса150 кг
нормативный документГОСТ 22687.3-85

ПК 1  Подпятники ГОСТ 22687.3-85.