ВБ 10.12.18

Чертеж изделия:
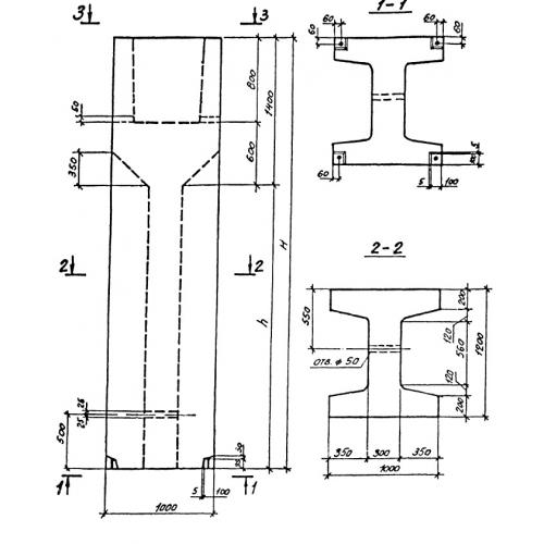
Характеристики изделия:
ПараметрЗначение
Длина1000 мм
Ширина1200 мм
высота1790 мм
вес4270 кг
серия0-221-84

ВБ10.12.18 Блоки-стаканы по серии 0-221-84.