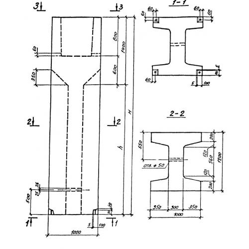
ВБ 10.12.45

Чертеж изделия:
Характеристики изделия:
ПараметрЗначение
длина1000 мм
ширина1200 мм
высота4490 мм
вес9200 кг
серия0-221-84

ВБ Блоки-стаканы верхние по серии 0-221-84.