2КБО 60.60

Чертеж изделия:
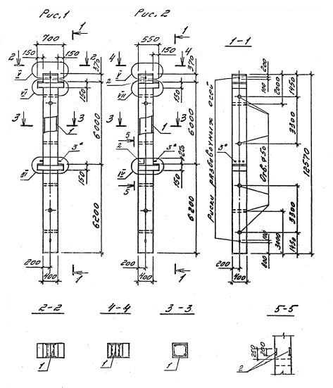
Характеристики изделия:
ПараметрЗначение
длина12570 мм
ширина400 мм
высота550 мм
масса5080 кг
нормативный документСерия 1.020.1-4

2КБО 60.60     Колонны  бесстыковые одноконсольные (Серия 1.020.1-4).

Маркировка включает высоту этажей (дм), диаметры угловых и промежуточных стержней арматуры (мм), марку бетона:

2КБО 60.60-3.20.00

2КБО 60.60-3.25.00

2КБО 60.60-3.28.00

2КБО 60.60-3.32.00

2КБО 60.60-3.36.00

2КБО 60.60-3.40.00

2КБО 60.60-4.40.00