ПСВ 72-27-12-150т-2.2.1.2

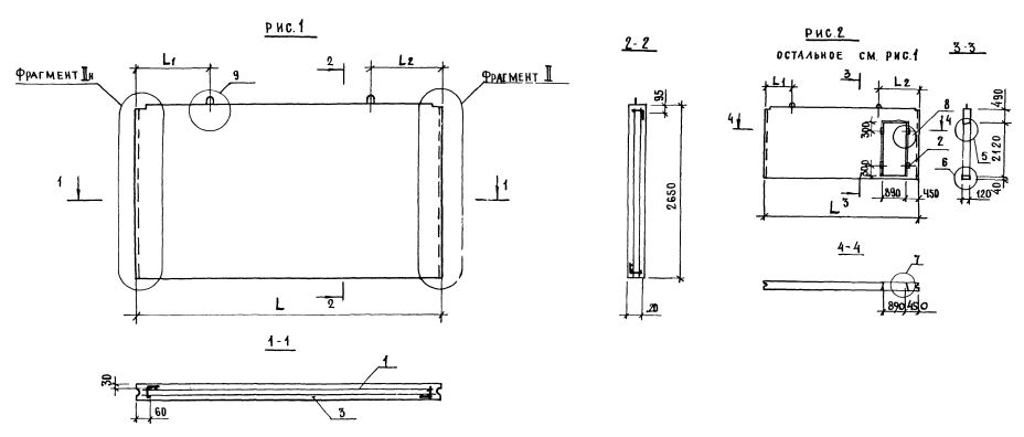
Чертеж изделия:
Характеристики изделия:
ПараметрЗначение
длина7120 мм
ширина120 мм
высота2650 мм
масса6130 кг
нормативный документСерия 1.131.1-23

Серия 1.131.1-23

ПСВ - Панель стеновая внутренняя.

72 - длина (в дм);

27 - высота (в дм);

12 - толщина (в мм);

150 т - марка и вид бетона (из тяжелого бетона (т) марки по прочности на сжатие М150);

2,2,1,2 - индексы, характеризующие положение панелей в плане здания и их конструктивные особенности ( 2 - панели продольных стен; 2 - панель с проёмом, 1 - ширина проёма 890мм, 2 - ширина меньшего простенка 450мм).