ЭНП 28.28.20-20т-1.16л

Чертеж изделия:
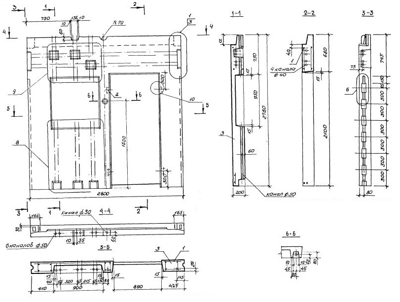
Характеристики изделия:
ПараметрЗначение
длина2800 мм
ширина200 мм
высота2780 мм
масса2400 кг
нормативный документСерия 1.131.1-26

Серия 1.131.1-26

Маркировка:

Первая группа состоит из буквенных и цифровых индексов. Буквами обозначены: тип панели (Э-электротехническая), характеристика несущей способности (Н-несущая, С-самонесущая) , форма дверного проема (П-дверной проем "П" образной формы, Г-проем у края панели ”Г" образной формы), в марках электротехнических панелей, не имеющих дверного проема, третий буквенный индекс не проставляется. Цифровыми индексами обозначены габаритные размеры: длина и высота в дециметрах (с округлением до целого числа), толщина в сантиметрах.

Во второй группе цифровым кодексом указан класс бетона по прочности на сжатие и вид бетона ("Т"-тяжелый).

Третья группа включает индексы, обозначающие: первая цифра - вид боковой грани, определяющей примыкание электротехнических панелей к смежным конструктивным элементам (1-вертикальные боковые грани без выступов, 2 - вертикальные грани по всей высоте имеют выступ); две последующие цифры после точки - определяют толщину плиты перекрытия (в сантиметрах), для опирания которой имеется подрезка на верхней грани электротехнической панели; буквенным индексом обозначено положение ниши для электрощита по отношению к длине электротехнической панели или простенка (П-ниша справа, Л- ниша слева), при расположении ниши по центру буквенный индекс не проставляется.

ЭНП -  электротехническая панель несущая с дверным проемом "П" - образной формы;

28.28.20 - длина 2800 мм, высота 2780 мм, толщина 200 мм;

20 - класс бетона по прочности на сжатие B20;

Т - бетон тяжелый

1 - боковой торец не имеет выступ;

16 - панель запроектирована под опирание плиты перекрытия толщиной 160 мм;

Л - ниша для электрощита расположена слева от центра простенка (при взгляде со стороны расположения ниши).