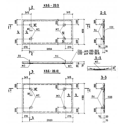
КВБ 20.12
Характеристики изделия:
| Параметр | Значение |
|---|---|
| длина | 2020 мм |
| ширина | 1180 мм |
| высота | 70 мм |
| вес | 420 кг |
| серия | 1.134-3 |
Цена:
Рассчитать стоимостьКВБ 20.12 Крышки вентиляционного блока по серии 1.134-3.
| Параметр | Значение |
|---|---|
| длина | 2020 мм |
| ширина | 1180 мм |
| высота | 70 мм |
| вес | 420 кг |
| серия | 1.134-3 |
КВБ 20.12 Крышки вентиляционного блока по серии 1.134-3.
