ВС 15.30

Чертеж изделия:
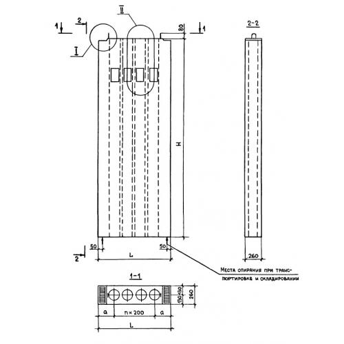
Характеристики изделия:
ПараметрЗначение
длина1480 мм
ширина260 мм
высота2980 мм
вес1046 кг
серия1.234.8-1

ВС 15.30 Вентиляционные блоки самонесущие по серии 1.234.8-1.