ПС 55.18.30

Чертеж изделия:
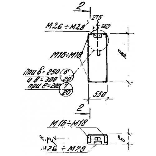
Характеристики изделия:
ПараметрЗначение
длина550 мм
ширина300 мм
высота1780 мм
вес400 кг
серия1.432-14/80

ПС 55.18.30 Панели стеновые по серии 1.432-14/80.