РПС 12

Чертеж изделия:
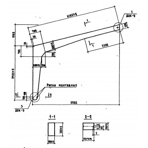
Характеристики изделия:
ПараметрЗначение
длина6185 мм
ширина180 мм
высота5165 мм
вес1900 кг
серия1.822.1-6

РПС 12 Полурамы сельскохозяйственные прямоугольного сечения по серии 1.822.1-6.