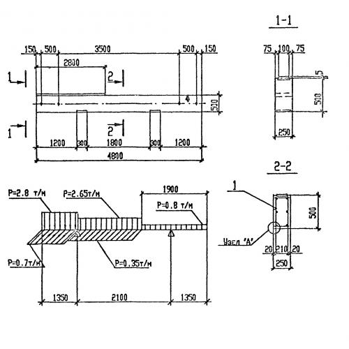
Т 4

Чертеж изделия:
Характеристики изделия:
ПараметрЗначение
длина4800 мм
ширина250 мм
высота500 мм
вес1500 кг
серия3.016.1-11

Т 4 Траверсы по серии 3.016.1-11.