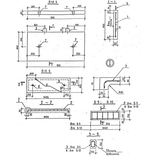
УБК-5 плиты лотков
Характеристики изделия:
| Параметр | Значение |
|---|---|
| длина | 995 мм |
| ширина | 495 мм |
| высота | 60 мм |
| масса | 73 кг |
| нормативный документ | Серия 3.407-102 |
Цена:
Рассчитать стоимостьУБК-5 Плиты перекрытия лотков кабельных каналов Серия 3.407-102.
| Параметр | Значение |
|---|---|
| длина | 995 мм |
| ширина | 495 мм |
| высота | 60 мм |
| масса | 73 кг |
| нормативный документ | Серия 3.407-102 |
УБК-5 Плиты перекрытия лотков кабельных каналов Серия 3.407-102.
