ПТ 33 приставки пасынки

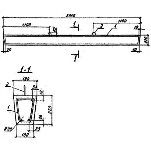
Чертеж изделия:
Характеристики изделия:
ПараметрЗначение
длина3250 мм
ширина180 мм
высота220 мм
масса250 кг
нормативный документСерия 3.407-57/58

ПТ 33  Приставки железобетонные (пасынки)  Серия 3.407-57/58.