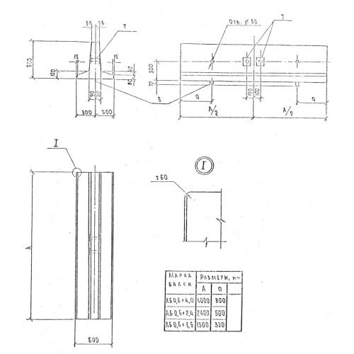
АБ 0.6-4.0 анкерная балка

Чертеж изделия:
Характеристики изделия:
ПараметрЗначение
длина4000 мм
ширина600 мм
высота600 мм
масса1300 кг
нормативный документСерия 3.407.9-158

АБ 0.6-4.0   Анкерные балки по Серии 3.407.9-158.