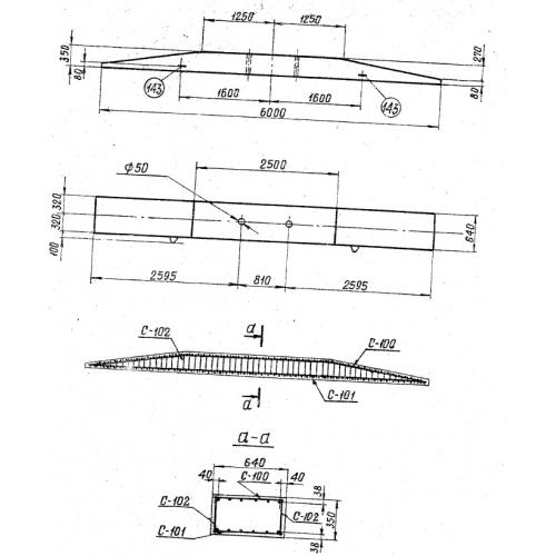
РЦ 6.0 ригель

Чертеж изделия:
Характеристики изделия:
ПараметрЗначение
длина6000 мм
ширина640 мм
высота350 мм
масса2600 кг
нормативный документСерия 3.407.9-158

РЦ 6.0  Ригели для центрифугированной стойки  по Серии 3.407.9-158.