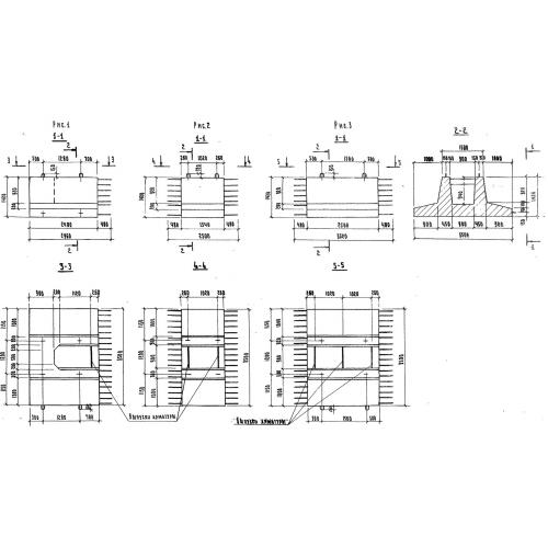
ФК-1

Чертеж изделия:
Характеристики изделия:
ПараметрЗначение
длина2960 мм
ширина3500 мм
высота1420 мм
вес16000 кг
серия3.503.1-53

ФК-1 Блоки фундамента крайние по серии 3.503.1-53.