Р 1
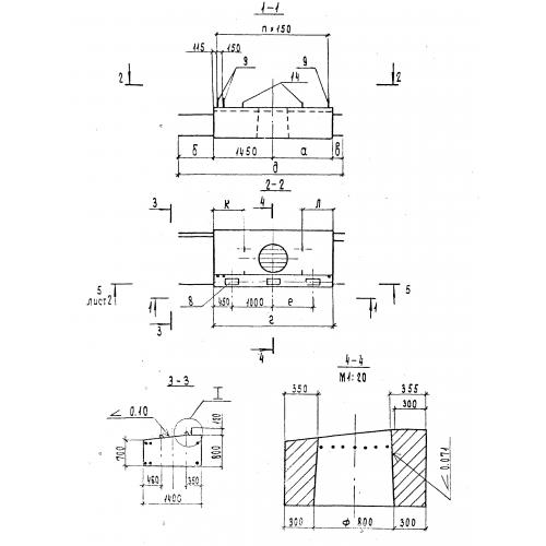
Характеристики изделия:
| Параметр | Значение |
|---|---|
| длина | 5350 мм |
| ширина | 520 мм |
| высота | 600 мм |
| вес | 2690 кг |
| серия | ИИ-63 |
Цена:
Рассчитать стоимостьР 1 Ригель по серии ИИ-63.
| Параметр | Значение |
|---|---|
| длина | 5350 мм |
| ширина | 520 мм |
| высота | 600 мм |
| вес | 2690 кг |
| серия | ИИ-63 |
Р 1 Ригель по серии ИИ-63.
